Contact Us
- Baishiyi Jiulongpo District, High-tech Zone,Chongqing,China.
- +8617383152089
- ZCMisuzu@guanglian99.com
- +8617783192117
- Sallyisuzu@guanglian99.com
- +8619122192813
- shinelyisuzu@guanglian99.com
- +8613350389466
- camilleisuzu@guanglian99.com
Cylinder Head Half Moon Rubber Seal / Moon Rubber Camshaft Plug For Isuzu TFR17 UCS17 Trucks With 4ZE1 MPI Engine Replacement 8942024300 8942204230 8942204231
Cylinder Head Half Moon Rubber Seal / Camshaft Plug – For Isuzu TFR17, UCS17 Trucks (4ZE1 MPI Engine) – Replaces OEM 8942024300 8942204230 8942204231 8-94202430-0 8-94220423-0 8-94220423-1
Description
Product Overview
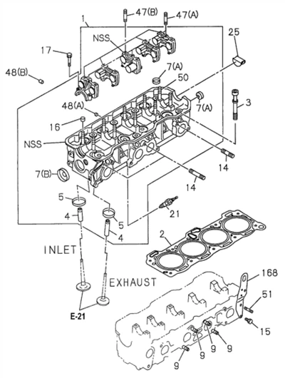
This Cylinder Head Half Moon Rubber Seal (Camshaft Plug) is a precision-engineered replacement part designed specifically for Isuzu TFR17 and UCS17 trucks equipped with the 4ZE1 MPI engine. Also commonly referred to as a "half-round seal" or "camshaft half-moon plug," this small but essential component prevents oil leaks at the rear of the cylinder head, ensuring your engine stays clean, lubricated, and running at peak performance. In this picture , Camshaft Plug is note number (25) .


OEM Cross-References:
Directly replaces OEM numbers:
8942024300 8942204230 8942204231 8-94202430-0 8-94220423-0 8-94220423-1
basic Information
- Quality We Can Offer:Famous Brand Aftermarket Quality /China ISUZU Quality/ Japanese ISUZU Quality for Choose
- Product Name: Cylinder Head Half Moon Rubber Seal / Camshaft Plug
- Applicable Vehicles: For Isuzu TFR17, UCS17 Trucks
- Applicable Engines: ISUZU 4ZE1 MPI Engine
- OE Numbers (Genuine & Compatible): 8942024300 8942204230 8942204231 8-94202430-0 8-94220423-0 8-94220423-1
- Usage: Seal cylinder head and camshaft, prevent oil leakage and impurity entry
- Warranty: 1 Year
- MOQ:1 Piece
Products Image

Product Function & Importance
The cylinder head half moon rubber seal plays a vital role in protecting the engine's performance and extending its service life, with three core functions:
Leak Prevention: Effectively seals the gap between the cylinder head and camshaft, preventing engine oil leakage and avoiding oil waste, as well as potential damage to engine components caused by oil shortage. It also blocks external impurities (such as dust and debris) from entering the engine, ensuring the internal parts stay clean and functional.
Temperature & Pressure Resistance: Operates stably under high-temperature and high-pressure conditions inside the engine, maintaining its shape and sealing performance without deformation or hardening-even during long-term operation. This stability is essential for the 4ZE1 MPI engine, which is known for its reliability and is widely used in light commercial vehicles and pickups.
Engine Protection: By maintaining a tight seal, the product ensures the engine's lubrication system works efficiently, reducing friction between moving parts (such as the camshaft) and preventing premature wear. This directly contributes to extending the engine's service life, which is typically around 300,000 km for the 4ZE1 engine when properly maintained.
A worn or damaged half moon rubber seal can lead to oil leaks, increased fuel consumption, reduced engine power, and even severe engine damage over time. Choosing our high-quality replacement part ensures your Isuzu TFR17/UCS17 truck remains in optimal operating condition, minimizing downtime and repair costs.
Why Choose Us?
- Professional Expertise: 29 years of in-depth research on ISUZU trucks and engines, familiar with every detail of 4HK1 and 6HK1 engines, ensuring our parts are 100% compatible.
- Full-Range Supply: Specialized in full-range ISUZU truck parts, covering engine parts, chassis parts, body parts, and more, one-stop shopping for all your ISUZU repair needs.
- OE Standard Quality: Our engine peripheral products, including eccentric shell bearings, are manufactured to meet OE specifications, with stable quality and reliable performance, reducing maintenance frequency and cost.
- Global Service: We have rich experience in exporting ISUZU parts to global markets, providing professional logistics and after-sales service, ensuring timely delivery and worry-free after-sales.
- Bulk & wholesale pricing available for workshops and fleets .
Related Products we can offer
All about ISUZU truck spare parts we can supply ,including Engine System Parts .Here are some classic products related to engine bearing we can offer .




Image Navigation
Contact Us
If you have any questions about product quality, fitment, price, related products, or bulk procurement, please feel free to contact us. We will reply within 24 hours and provide professional solutions and competitive quotes.
One-stop Isuzu truck parts supplier from China,Focus on ISUZU parts sale over 29 years .
Our address
Baishiyi Jiulongpo District, High-tech Zone,Chongqing,China.
Phone Number
+8617383152089
ZCMisuzu@guanglian99.com

Follow Us for More Videos.

Hot Tags: cylinder head half moon rubber seal / moon rubber camshaft plug for isuzu tfr17 ucs17 trucks with 4ze1 mpi engine replacement 8942024300 8942204230 8942204231, China, suppliers, wholesale, price, bulk, discount, for sale, made in China
You Might Also Like



























